К 3

Чертеж изделия:
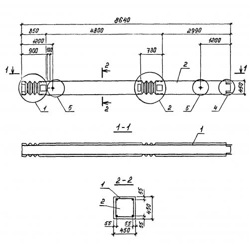
Характеристики изделия:
ПараметрЗначение
длина8640 мм
ширина450 мм
высота450 мм
масса4300 кг
нормативный документГОСТ 27108-86

К 3  Колонны ГОСТ 27108-86.