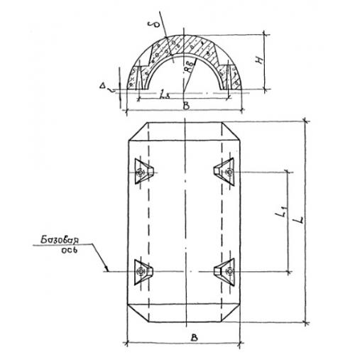
2УТК 820 утяжелители кольцевые

Чертеж изделия:
Характеристики изделия:
ПараметрЗначение
длина2400 мм
ширина1280 мм
высота610 мм
масса1587 кг
нормативный документПроект №998

2УТК 820  Утяжелители железобетонные кольцевые сборные для магистральных трубопроводов Проект №998.