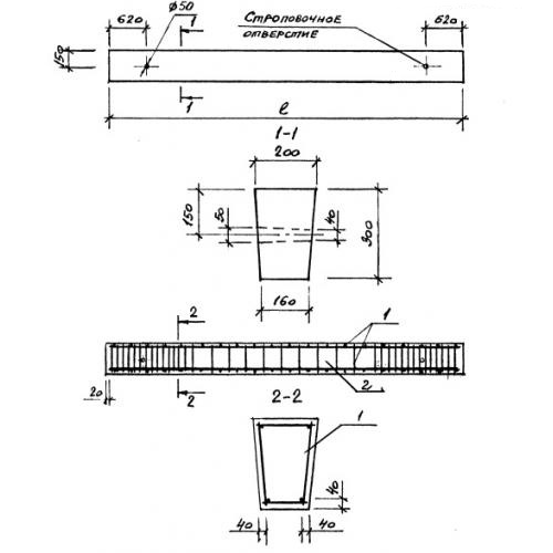
1БФ 55 балки фундаментные

Чертеж изделия:
Характеристики изделия:
ПараметрЗначение
длина5500 мм
ширина200 мм
высота300 мм
масса750 кг
нормативный документСерия 1.015.1-1.95

1БФ 55  Балки фундаментные Серия 1.015.1-1.95.