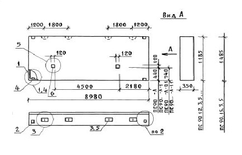
ПС 90.15.3.5 панели стеновые

Чертеж изделия:
Характеристики изделия:
ПараметрЗначение
длина8980 мм
ширина350 мм
высота1485 мм
масса6750 кг
нормативный документСерия 1.030.1-1/88

ПС 90.15.3.5  Панели стеновые Серия 1.030.1-1/88.