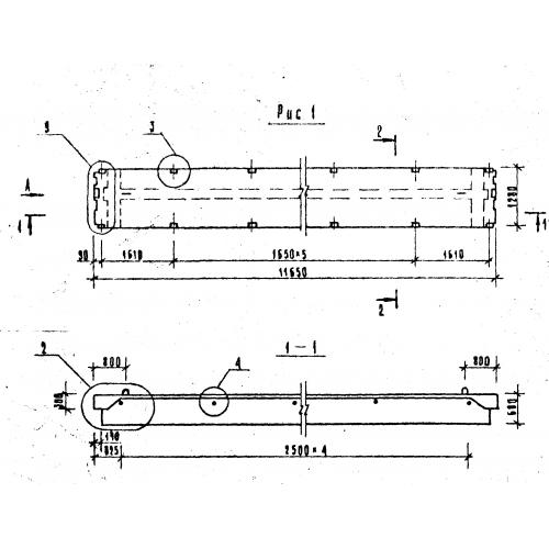
ПТ 116.13

Чертеж изделия:
Характеристики изделия:
ПараметрЗначение
длина11650 мм
ширина1280 мм
высота600 мм
вес5380 кг
серия1.042.1-2

ПТ 116.13 Плиты перекрытий тип "Т" по серии 1.042.1-2.