НЦ 30.10.50
Характеристики изделия:
| Параметр | Значение |
|---|---|
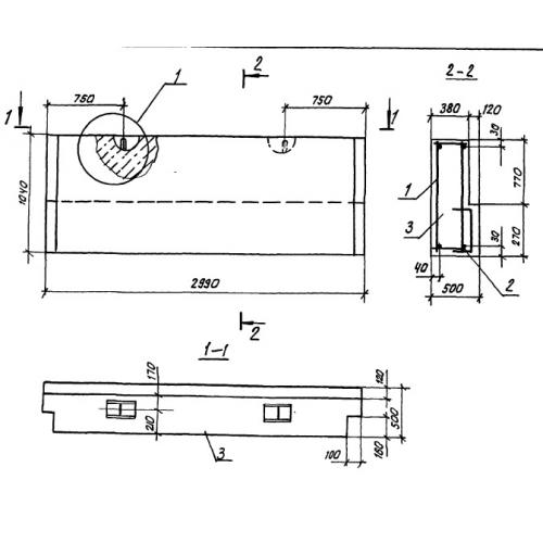
| длина | 2990 мм |
| ширина | 500 мм |
| высота | 1040 мм |
| вес | 2130 кг |
| серия | 1.100.1-7 |
Цена:
Рассчитать стоимостьНЦ 30.10.50 Наружная цокольная стеновая панель по серии 1.100.1-7.
| Параметр | Значение |
|---|---|
| длина | 2990 мм |
| ширина | 500 мм |
| высота | 1040 мм |
| вес | 2130 кг |
| серия | 1.100.1-7 |
НЦ 30.10.50 Наружная цокольная стеновая панель по серии 1.100.1-7.
