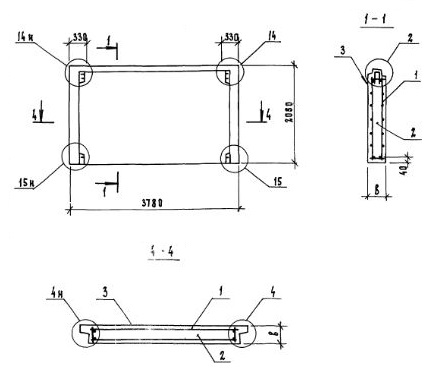
4ПСН 38.20.40-п-1

Чертеж изделия:
Характеристики изделия:
ПараметрЗначение
длина3780 мм
ширина400 мм
высота2030 мм
масса4300 кг
нормативный документСерия 1.117.1-20

Панели наружных цокольных стен. Панели толщиной 400 и 450 мм (Серия 1.117.1-20).

4ПСН 38.20.40-п-1  Панели стеновые наружные.  

п-пористый бетон.