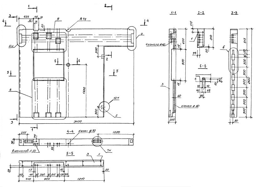
ЭНГ 34.26.20-15т-1л
| Параметр | Значение |
|---|---|
| длина | 3400 мм |
| ширина | 200 мм |
| высота | 2650 мм |
| масса | 3100 кг |
| нормативный документ | Серия 1.131.1-26 |
Серия 1.131.1-26
Маркировка:
Первая группа состоит из буквенных и цифровых индексов. Буквами обозначены: тип панели (Э-электротехническая), характеристика несущей способности (Н-несущая, С-самонесущая) , форма дверного проема (П-дверной проем "П" образной формы, Г-проем у края панели ”Г" образной формы), в марках электротехнических панелей, не имеющих дверного проема, третий буквенный индекс не проставляется. Цифровыми индексами обозначены габаритные размеры: длина и высота в дециметрах (с округлением до целого числа), толщина в сантиметрах.
Во второй группе цифровым кодексом указан класс бетона по прочности на сжатие и вид бетона ("Т"-тяжелый).
Третья группа включает индексы, обозначающие: первая цифра - вид боковой грани, определяющей примыкание электротехнических панелей к смежным конструктивным элементам (1-вертикальные боковые грани без выступов, 2 - вертикальные грани по всей высоте имеют выступ); две последующие цифры после точки - определяют толщину плиты перекрытия (в сантиметрах), для опирания которой имеется подрезка на верхней грани электротехнической панели; буквенным индексом обозначено положение ниши для электрощита по отношению к длине электротехнической панели или простенка (П-ниша справа, Л- ниша слева), при расположении ниши по центру буквенный индекс не проставляется.
ЭНГ 34.26.20-15т-1л
ЭНГ - электротехническая панель несущая с проемом у края панели ("Г "- образной формы).
34.26.20 - длина 3400 мм, высота 2650 мм, толщина 200 мм;
15 - класс бетона по прочности на сжатие B15;
Т - бетон тяжелый
1 - боковой торец без выступа;
Л - ниша для электрощита расположена слева от центра простенка (при взгляде со стороны расположения ниши).