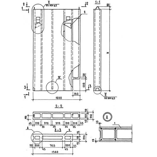
ВБП 16.30.2 блоки вентиляционные

Чертеж изделия:
Характеристики изделия:
ПараметрЗначение
длина1600 мм
ширина240 мм
высота2990 мм
масса1090 кг
нормативный документСерия 1.134.1-12

ВБП 16.30.2  Блоки вентиляционные  поэтажные Серия 1.134.1-12.