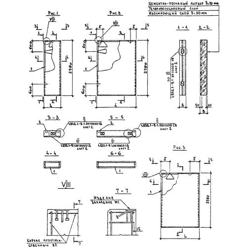
ПСД 15.30.40

Чертеж изделия:
Характеристики изделия:
ПараметрЗначение
длина1480 мм
ширина400 мм
высота2980 мм
вес3400 кг
серия1.832.1-9

ПСД 15.30.40 Панели стеновые двухслойные по серии 1.832.1-9.