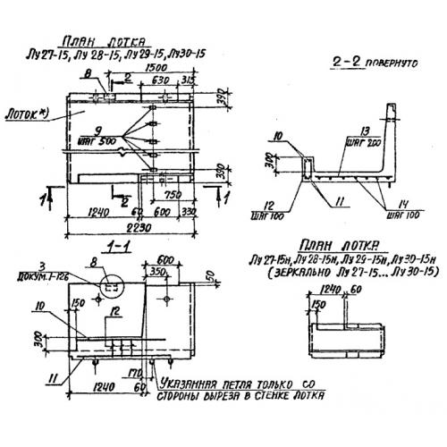
Лу 27/2 лотки угловые
Характеристики изделия:
| Параметр | Значение |
|---|---|
| длина | 2230 мм |
| ширина | 2780 мм |
| высота | 760 мм |
| масса | 4320 кг |
| нормативный документ | Серия 3.006.1-2/87 |
Цена:
Рассчитать стоимостьЛу 27/2 Лотки теплотрасс угловые Серия 3.006.1-2/87.
| Параметр | Значение |
|---|---|
| длина | 2230 мм |
| ширина | 2780 мм |
| высота | 760 мм |
| масса | 4320 кг |
| нормативный документ | Серия 3.006.1-2/87 |
Лу 27/2 Лотки теплотрасс угловые Серия 3.006.1-2/87.
