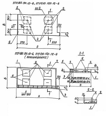
ПТУ 180.90.10 плиты лотков
Характеристики изделия:
| Параметр | Значение |
|---|---|
| длина | 1780 мм |
| ширина | 880 мм |
| высота | 100 мм |
| масса | 367 кг |
| нормативный документ | Серия 3.006.1-8 |
Цена:
Рассчитать стоимостьПТУ 180.90.10 Плиты перекрытия каналов угловые Серия 3.006.1-8.