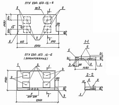
ПТУ 230.150.14 плиты лотков
Характеристики изделия:
| Параметр | Значение |
|---|---|
| длина | 2340 мм |
| ширина | 1480 мм |
| высота | 140 мм |
| масса | 1150 кг |
| нормативный документ | Серия 3.006.1-8 |
Цена:
Рассчитать стоимостьПТУ 230.150.14 Плиты перекрытия каналов угловые Серия 3.006.1-8.