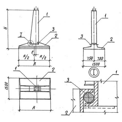
Ф 1.5-1 Фундамент составной

Чертеж изделия:
Характеристики изделия:
ПараметрЗначение
длина1000 мм
ширина1500 мм
высота2700 мм
масса16680 кг
нормативный документСерия 3.407.1-144

Ф 1.5-1  Фундаменты под стальные опоры по Серии 3.407.1-144.