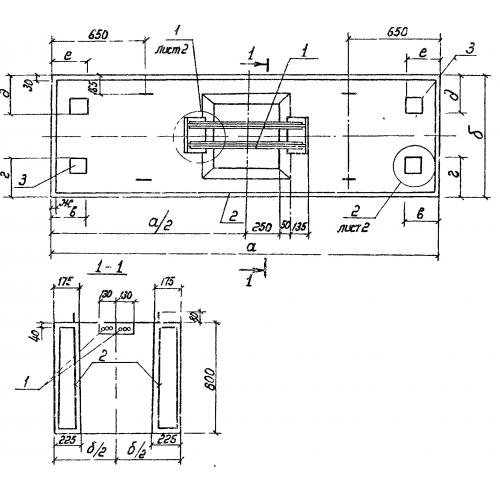
КАП 2
Характеристики изделия:
| Параметр | Значение |
|---|---|
| длина | 2800 мм |
| ширина | 950 мм |
| высота | 800 мм |
| вес | 4750 кг |
| серия | 3.702-1/79 |
Цена:
Рассчитать стоимостьКАП 2 Капители по серии 3.702-1/79.
| Параметр | Значение |
|---|---|
| длина | 2800 мм |
| ширина | 950 мм |
| высота | 800 мм |
| вес | 4750 кг |
| серия | 3.702-1/79 |
КАП 2 Капители по серии 3.702-1/79.
