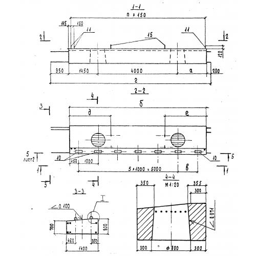
Р 5

Чертеж изделия:
Характеристики изделия:
ПараметрЗначение
длина2450 мм
ширина520 мм
высота600 мм
вес1230 кг
серияИИ-63

Р 5 Ригель по серии ИИ-63.