ПСД

Чертеж изделия:
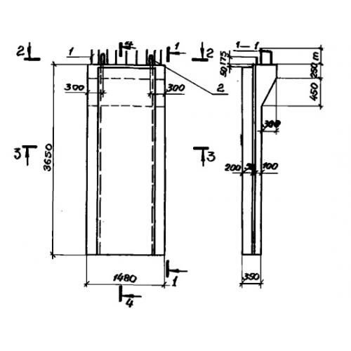
Характеристики изделия:
ПараметрЗначение
длина1480 мм
ширина650 мм
высота3650 мм
вес4250 кг
серияУ 01-01/80

ПСД Плиты стеновые доборные по серии У 01-01/80.